山海证券(ZFX)关于公众假期部分产品交易时间调整的通知

[复制链接]
1078 0
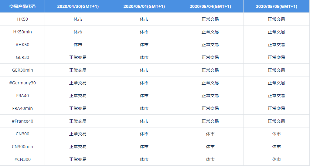
受2020年4月30日和5月1日公众假期影响,以下产品的交易时间会有所调整,敬请留意:
5ea8da484d502.png

酷汇返佣网郑重承诺:

不加点、不加佣:返佣金额严格基于用户实际交易成本(点差/手续费)计算,无任何隐性收费;
客观中立:仅提供返佣政策咨询,不推荐具体经纪商或诱导交易;
信息安全:严格保护用户个人信息,不泄露给第三方。

外汇交易是一项需要高度专业知识和风险承受能力的行为。酷汇返佣网仅作为信息中介,协助用户降低交易成本,但不承担投资盈亏责任。用户需自主决策、谨慎操作,严格通过官方渠道入金,并充分了解交易风险。如有疑问,可通过以下方式联系酷汇返佣网客服:

•QQ客服:82183716
•微信客服:kuhuifx 备用:kufxxx
•官方网站:www.kuhuifx.com

举报 使用道具

回复
您需要登录后才可以回帖 登录 | 立即注册

本版积分规则

  Archiver|手机版|小黑屋|   ©2015-2018   酷汇返佣网 Powered by Discuz! X3.5 © 2001-2017 Comsenz Inc.

安全联盟认证 安全联盟认证
快速回复 返回顶部 返回列表